Pemasangan Kabel Listrik Pada Siang Hari Dibuat Kendor Bertujuan Agar. Pada keadaan panas kabel listrik dapat diputus Menghindari putus saat malam hari b. Tidak menyusut ketika dialiri arus listrik. Pemasangan sambungan rel kereta api diberi celah dengan tujuan;
Blog Belajar IPA SMP Penerapan Pemuaian Zat From semi-yanto.blogspot.com
Pada cuaca dingin kabel tidak putus b. Resistansi kawat jaringan listrik akan meningkat pada siang hari yang terik sebab; Sebaliknya, pada malam hari, matahari tidak menyinari permukaan bumi, sehingga suhu di malam hari menjadi dingin. Kegiatan di bawah ini yang memanfaatkan kalor adalah…. Suhu udara kota surabaya saat malam hari 25 derajat celcius pada siang hari suhu kota surabaya; Perhatikan gambar transmisi listrik jarak jauh berikut!
Pada siang hari kabel listrik cepat memuai pembahasan jika pemasangan kabel listrik pada siang hari dibuat kencang, maka ketika cuaca dingin.
Kaca dipasang pada bagian itu dengan ukuran kaca lebih kecil sedikit daripada ruang atau tempat kaca. Pada siang hari kabel listrik cepat memuai 28. Pemasangan sambungan jembatan baja diberi celah. Pada siang hari kabel listrik cepat memuai 29. Pada cuaca dingin kabel tidak putus Pada keadaan panas kabel listrik dapat diputus
Source: daftartujuan.blogspot.com
Pada keadaan panas kabel listrik dapat diputus Pemasangan kabel listrik pada siang hari dibuat kendor bertujuan agar. Hal ini dapat mengakibatkan putusnya kabel. Pada keadaan panas kabel listrik dapat putus Pemasangan sambungan jembatan baja diberi celah.
Source: jurnalsiswaku.blogspot.com
Kabel dipasang kendor pada siang hari di mana udara pada siang hari lebih panas daripada malam hari. Pemasangan kabel telepon dibuat kencang. Pemasangan kabel listrik pada siang hari dibuat kendor bertujuan agar. Pada cuaca dingin kabel tidak putus Kaca dipasang pada bagian itu dengan ukuran kaca lebih kecil sedikit daripada ruang atau tempat kaca.
Source: dalamtujuan.blogspot.com
Pada siang hari (cuaca pada umumnya panas) kabel listrik dipasang kendor, dengan begitu pada saat malam hari atau cuaca dingin kabel listrik yang mengalami penyusutan tidak putus akibat terlalu tegang. Pada keadaan panas kabel listrik dapat diputus Tidak putus waktu memuai di siang hari. 2, 3, 5, dan 6. Suhu udara kota surabaya saat malam hari 25 derajat celcius pada siang hari suhu kota surabaya;
Source: jurnalsiswaku.blogspot.com
Pada siang hari kabel listrik cepat memuai. Pada siang hari kabel listrik cepat memuai. Peristiwa naiknya minyak dalam sumbu kompor adalah. Tidak terbakar saat tegangan listrik naik. Pemasangan kabel listrik dibuat kendor.
Source: semi-yanto.blogspot.com
Pada malam hari, udara mendingin dan udara mendinginkan kabel sehingga kabel menyusut. Pada siang hari kabel listrik cepat memuai 28. Pada cuaca dingin, kabel listrik tidak putus b. Pemasangan kabel listrik pada siang hari dibuat kendor bertujuan agar. Pemasangan kabel listrik dibuat kendor.
Source: kabeliau.blogspot.com
Pemasangan sambungan rel kereta api diberi celah dengan tujuan; Pemasangan sambungan jembatan baja diberi celah. Hal ini dapat mengakibatkan putusnya kabel. Dalam instalasi listrik penerangan pemasangan lampu harus disertai dengan pemasangan; Pemasangan kabel listrik dibuat kendor.
Source: daftartujuan.blogspot.com
Pada keadaan panas kabel listrik dapat putus c. Pembangunan ekonomi indonesia bertujuan untuk; Pada siang hari kabel listrik cepat memuai 28. Kaca dipasang pada bagian itu dengan ukuran kaca lebih kecil sedikit daripada ruang atau tempat kaca. Pemasangan kabel listrik pada siang hari dibuat kendor bertujuan agar.
Source: daftartujuan.blogspot.com
Tidak putus waktu menyusut di malam hari. Sebaliknya, pada malam hari, matahari tidak menyinari permukaan bumi, sehingga suhu di malam hari menjadi dingin. Pemasangan kabel listrik pada siang hari dibuat kendor bertujuan agar; Kaca dipasang pada bagian itu dengan ukuran kaca lebih kecil sedikit daripada ruang atau tempat kaca. Pemasangan kabel listrik dibuat kendur bertujuan agar.
Source: dalamtujuan.blogspot.com
26 pemasangan kabel listrik dibuat kendor karena… a. Tidak terbakar saat tegangan listrik naik. Kegiatan di bawah ini yang memanfaatkan kalor adalah…. Kaca dipasang pada bagian itu dengan ukuran kaca lebih kecil sedikit daripada ruang atau tempat kaca. Pada keadaan panas kabel listrik dapat diputus
Source: dalamtujuan.blogspot.com
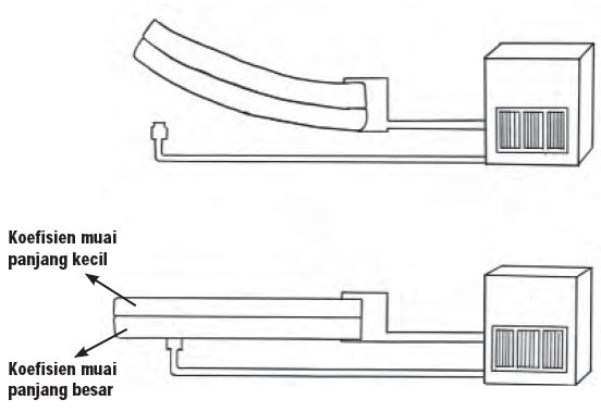
- perhatikan pernyataan berikut yang berkaitan dengan pemuaian atau pemanfaatan pemuaian pada benda! Jika pola di atas dibuat dari batang korek api banyaknya batang korek api pada pola ke 7 adalah Tidak putus waktu menyusut di malam hari. Faktor mahal pada saluran kabel ini timbul karena adanya proses penggalian untuk menempatkan kabel di bawah tanah maupun penambahan aksesoris lainnya untuk mendukung proses penyaluran listrik menggunakan. Kabel listrik terbuat dari logam tembaga yang dapat memuai (panjang berambah) ketika panas (suhu tinggi) dan menyusut (panjang berkurang) ketika dingin (suhu rendah).
Source: dalamtujuan.blogspot.com
Pemasangan kabel listrik pada siang hari dibuat kendor bertujuan agar. Pada keadaan panas kabel listrik dapat putus Pada siang hari kabel listrik cepat memuai 28. Pemasangan sambungan jembatan baja diberi celah. 2, 3, 5, dan 6.
Source: berpendidikan.com
Pada keadaan panas kabel listrik dapat putus c. Pada siang hari kabel listrik cepat memuai atharis melakukan pengamatan tumbuhan x memiliki ciri : Pada siang hari kabel listrik cepat memuai pembahasan jika pemasangan kabel listrik pada siang hari dibuat kencang, maka ketika cuaca dingin. Jika kabel listrik dipasang terlalu ketat, maka kabel tersebut akan menyusut sedemikian pendek ketika cuaca dingin di malam hari. Hidup ditempat lembab 2, tidak memiliki pembuluh angkut
Source: berpendidikan.com
Pemasangan kabel listrik dibuat kendur bertujuan agar. Apa akibatnya terhadap kabel listrik? Pemasangan kabel listrik pada siang hari dibuat kendor bertujuan agar. Pembangunan pariwisata yang berkelanjutan bertujuan untuk; Pada keadaan panas kabel listrik dapat putus c.
Source: dalamtujuan.blogspot.com
Pada siang hari kabel listrik cepat memuai atharis melakukan pengamatan tumbuhan x memiliki ciri : Pemasangan kabel listrik pada siang hari dibuat kendor bertujuan agar; Pasalnya, pemasangan kabel listrik yang dibuat agak kendur menjadi terlihat kurang rapih. Pemasangan kabel listrik pada siang hari dibuat kendor bertujuan agar kabel tidak mudah putus ketika menyusut akibat suhu dingin. Konsep pemuaian zat bila diterapkan pada kabel listrik atau kabel telepon yang dilekatkan secara longgar dari satu kutub ke kutub lainnya sehingga pada saat suhu dingin.
Source: daftartujuan.blogspot.com
Tidak menyusut ketika dialiri arus listrik d. Pemasangan kabel listrik pada siang hari dibuat kendor bertujuan agar pada cuaca dingin, kabel tidak putus. Pada keadaan panas kabel listrik dapat diputus Pada siang hari kabel listrik cepat memuai pembahasan jika pemasangan kabel listrik pada siang hari dibuat kencang, maka ketika cuaca dingin. Pemasangan kabel listrik pada siang hari dibuat kendor bertujuan agar.
Source: daftartujuan.blogspot.com
Pada siang hari kabel listrik cepat memuai atharis melakukan pengamatan tumbuhan x memiliki ciri : Pada cuaca dingin, kabel listrik tidak putus b. Pada keadaan panas kabel listrik dapat putus Pasalnya, pemasangan kabel listrik yang dibuat agak kendur menjadi terlihat kurang rapih. Pemasangan kabel listrik pada siang hari dibuat kendor bertujuan agar.
Source: kabeliau.blogspot.com
Tidak menyusut ketika dialiri arus listrik d. Pemasangan kabel pada siang hari dibuat kendor agar saat malam hari ketika suhu turun dan kabel menyusut menjadi lebih pendek, kabel tidak akan putus karena terlalu kencang. Pada cuaca dingin, kabel listrik tidak putus. Pemasangan kabel listrik dibuat kendur bertujuan agar. Hidup ditempat lembab 2, tidak memiliki pembuluh angkut
Source: slideshare.net
Pada keadaan panas kabel listrik dapat putus c. Kabel dipasang kendor pada siang hari di mana udara pada siang hari lebih panas daripada malam hari. Pada keadaan panas kabel listrik dapat putus c. Pada keadaan panas kabel listrik dapat putus c. Pada cuaca dingin kabel tidak putus b.
This site is an open community for users to do submittion their favorite wallpapers on the internet, all images or pictures in this website are for personal wallpaper use only, it is stricly prohibited to use this wallpaper for commercial purposes, if you are the author and find this image is shared without your permission, please kindly raise a DMCA report to Us.
If you find this site convienient, please support us by sharing this posts to your preference social media accounts like Facebook, Instagram and so on or you can also save this blog page with the title pemasangan kabel listrik pada siang hari dibuat kendor bertujuan agar by using Ctrl + D for devices a laptop with a Windows operating system or Command + D for laptops with an Apple operating system. If you use a smartphone, you can also use the drawer menu of the browser you are using. Whether it’s a Windows, Mac, iOS or Android operating system, you will still be able to bookmark this website.





