Contoh Rab Pondasi Cakar Ayam. Lebar atas pondasi = 25 cm. Jadi satu buah pondasi footplat ukuran 100×100 cm membutuhkan besi kisaran 21,5 meter. Download ratusan format rab (rencana anggaran biaya) dan ahsp (analisa harga satuan pekerjaan) Pondasi rumah 2 lantai cakar ayam merupakan pondasi yang terdiri dari pelat beton bertulang dengan ketebalan 10 12 cm.
Cara Menghitung Volume dan Biaya Beton Pondasi Cakar Ayam From iderumahidaman.com
Untuk ukuran tulangan besi pondasi cakar ayam 80 cm x 80 cm dengan besi ulir harganya rp 300.000 ( bulan juli 2011). Apabila panjang total pondasi ada 10 meter, maka kebutuhan totalnya yaitu : Berapa upah yang saya harus bayar untuk membuat tulangan besi pondasi cakar ayam? Blog oong perhitungan volume dan rab pondasi telapak. Panjang pondasi = 10 meter. Namanya pondasi, entah itu menggunakan pondasi batu kali atau pondasi cakar ayam.
Download spreadsheet excel, perencanaan pondasi telapakmenghitung volume.
Untuk mengetahui berapa total rab rumah yang ingin… Untuk mengetahui berapa total rab rumah yang ingin… Menghitung volume dan material pondasi cakar ayam pile cap a. Cara menghitung biaya pondasi menerus. Jenis besi yang biasa digukanan yaitu besi biasa yang mulus dan besi ulir, setelah itu ukuran diameter besi yang akan digunakan sebagai contoh : Pondasi batu kali pondasi cakar ayam dan pondasi menerus diro karya.
Source: eekeekku.blogspot.com
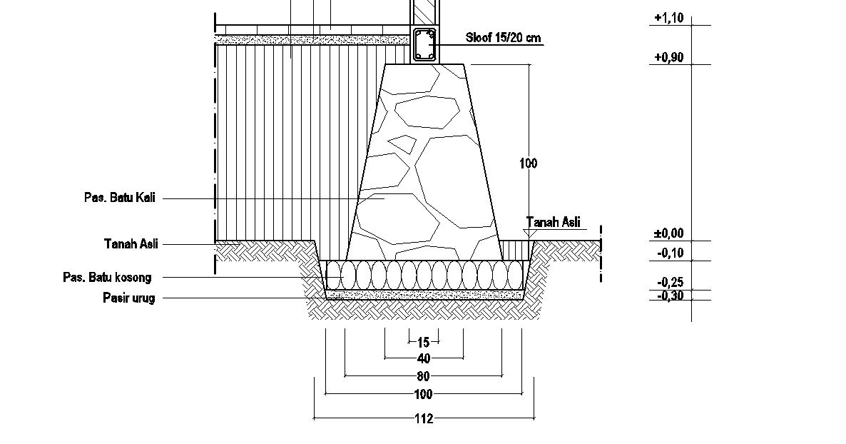
Contoh rab dana terbit rumah 1 dasar 2021 2021. Rab pondasi cakar ayam xls desain dekorasi rumah. Lb1 x l x 2 t x 2 x. Untuk mengetahui berapa total rab rumah yang ingin… Cara menghitung volume serta rab pasangan pondasi batu kali · lebar atas pondasi= 25 cm · ketinggian pondasi =60 cm · volume pondasi per meter= (0,25+0,5)/2x0,6x1=.
Source: mazaliee.blogspot.com
Berikut ini merupakan contoh perhitungan biaya pondasi menerus pondasi biasa yang sering digunakan untuk bangunan standar seperti rumah. Cara menghitung volume pondasi batu kali kumpul engineer. Untuk mengetahui berapa total rab rumah yang ingin… Kurang lengkap rasanya apabila kalian sudah mengetahui harga borongannya, namun tidak tahu bagaimana cara menghitung rencana anggaran biaya (rab) pembangunannya. Kondisi tersebut adalah tekstur tanah yang.
Source: wileyvoorhees.blogspot.com
Ketika kita ingin membuat sebuah rumah yang memiliki lebih dari dua lantai, tentunya kita akan menggunakan pondasi yang kokoh untuk menopang beban bangunan diatasnya. Panjang pondasi = 10 meter. Pondasi batu kali pondasi cakar ayam dan pondasi menerus diro karya. Tulangan besi pondasi cakar ayam biasanya berbentuk tapak dan tiang setinggi 1,5 meter. Setelah menemukan volume, yang sekarang kita hitung adalah keperluan bahan dan biaya untuk pekerjaan pondasi tersebut.
Source: bangun-rumah.com
Contoh rab pasang cakar ayam per titik di atas sudah kami jelaskan secara lengkap mengenai harga borongan cakar ayam per titik untuk beberapa wilayah di indonesia. Pondasi rumah 2 lantai cakar ayam merupakan pondasi yang terdiri dari pelat beton bertulang dengan ketebalan 10 12 cm. Menghitung pembesian pondasi tapak cakar ayam telapak footplate dengan simpel youtube. Untuk ukuran tulangan besi pondasi cakar ayam 80 cm x 80 cm dengan besi ulir harganya rp 300.000 ( bulan juli 2011). Ketika kita ingin membuat sebuah rumah yang memiliki lebih dari dua lantai, tentunya kita akan menggunakan pondasi yang kokoh untuk menopang beban bangunan diatasnya.
Source: iderumahidaman.com
Menghitung volume dan material pondasi cakar ayam pile cap a. Jadi satu buah pondasi footplat ukuran 100×100 cm membutuhkan besi kisaran 21,5 meter. Cara menghitung kebutuhan besi cakar ayam pondasi footplat. Kemudian kita bisa menghitungnya seperti ini: Terdapat beberapa tipe pondasi yang umum digunakan untuk membuat konstruksi bangunan, di antaranya yaitu pondasi batu kali, pondasi cakar ayam dan tapak.
Source: kitabelajar.github.io
3 cara menghitung volume pondasi tapak rumus contoh rab. Setelah menemukan volume, yang sekarang kita hitung adalah keperluan bahan dan biaya untuk pekerjaan pondasi tersebut. Contoh rab dana terbit rumah 1 dasar 2021 2021. Volume pondasi per meter = (0,25+0,5)/2×0,6×1 = 0,225 m3. Berikut contoh bentuk pondasi cakar ayam :
Source: iderumahidaman.com
Download ratusan format rab lengkap ahsp rab upah bahan rekapitulasi 0444. Pondasi menjadi salah satu faktor yang paling penting dalam sebuah kekuatan bangunan itu sendiri. Cara menghitung volume serta rab pasangan pondasi batu kali · lebar atas pondasi= 25 cm · ketinggian pondasi =60 cm · volume pondasi per meter= (0,25+0,5)/2x0,6x1=. Kemudian kita bisa menghitungnya seperti ini: Menghitung volume dan material pondasi cakar ayam pile cap a.
Source: blogmaterialbangunan.com
Semegah dan seindah apapun rumah dibangun jika tidak disokong oleh pondasi yang kokoh belum tentu dapat bertahan dalam hitungan. Kemudian kita bisa menghitungnya seperti ini: Cara menghitung volume pondasi batu kali kumpul engineer. Jenis pondasi tapak ini sering digunakan untuk membangun rumah tinggal dengan satu lantai. Kondisi tersebut adalah tekstur tanah yang.
Source: basicarsitek.blogspot.com
Namanya pondasi, entah itu menggunakan pondasi batu kali atau pondasi cakar ayam. Jika panjang total pondasi adalah. Contoh pondasi cakar ayam lainya adalah pondasi rumah bp zaenal yang berlokasi @ serpong park tangerang. Jenis besi yang biasa digukanan yaitu besi biasa yang mulus dan besi ulir, setelah itu ukuran diameter besi yang akan digunakan sebagai contoh : Download ratusan format rab (rencana anggaran biaya) dan ahsp (analisa harga satuan pekerjaan)
Source: rumahcentral.my.id
Langsung saja kita hitung dari gambar. Jika panjang total pondasi adalah. Sedangkan untuk menghitung kebutuhan material pondasi cakar ayam per buah adalah sebagai berikut. Download spreadsheet excel, perencanaan pondasi telapakmenghitung volume. Pondasi cakar ayam rumah 2 lantai.
Source: pengadaan.web.id
Di bawah ini merupakan contoh perhitungan rab pasangan pondasi batu kali 1 pc : Ketinggian pondasi = 60 cm. Untuk mengetahui berapa total rab rumah yang ingin… Untuk ukuran tulangan besi pondasi cakar ayam 80 cm x 80 cm dengan besi ulir harganya rp 300.000 ( bulan juli 2011). Sedangkan untuk menghitung kebutuhan material pondasi cakar ayam per buah adalah sebagai berikut.
Source: sugiarto637.blogspot.com
Menghitung volume dan material pondasi cakar ayam pile cap a. Berikut cara merangkai rab ms. Berikut contoh bentuk pondasi cakar ayam : You have just read the article entitled cara menghitung berat besi pondasi tapak. Rab pondasi cakar ayam xls desain dekorasi rumah.
Source: taikess.blogspot.com
Jenis pondasi tapak ini sering digunakan untuk membangun rumah tinggal dengan satu lantai. 5 ps (1 semen : Kemudian kita bisa menghitungnya seperti ini: Download ratusan format rab (rencana anggaran biaya) dan ahsp (analisa harga satuan pekerjaan) Menghitung pembesian pondasi tapak cakar ayam telapak footplate dengan simpel youtube.
Source: rumahcentral.my.id
Panjang pondasi = 10 meter. Pondasi batu kali pondasi cakar ayam dan pondasi menerus diro karya. Contoh rab pasang cakar ayam per titik di atas sudah kami jelaskan secara lengkap mengenai harga borongan cakar ayam per titik untuk beberapa wilayah di indonesia. Volume pondasi per meter = (0,25+0,5)/2×0,6×1 = 0,225 m3. Sampel rab rumah 2 taris 2021 excel.
Source: berbagairumah.blogspot.com
Menghitung volume dan material pondasi cakar ayam pile cap a. Jenis pondasi tapak ini sering digunakan untuk membangun rumah tinggal dengan satu lantai. Gambar detail pondasi tapak atau pondasi cakar ayam sangat dibutuhkan apabila kita ingin membuat bangunan yang memiliki beban tetap yang berat. Panjang pondasi = 10 meter. 0,225 x 10 = 2,25 m3.
Source: rumahcentral.my.id
Perhitungan volume dan rab pondasi telapakinilah 5 cara menghitung volume beton pondasi cakar ayamrab pondasi cakar ayam xlsbelajar teknik sipil, jasa perencanaan konstruksi bangunan: Namanya pondasi, entah itu menggunakan pondasi batu kali atau pondasi cakar ayam. Menurut sepengetahuan desain pondasi rumah minimalis modern menggunakan tapak tulangan besi pondasi cakar ayam terdapat tiga versi dan itu disesuaikan dengan kondisi dari lokasi tempat bangunan rumah yang akan dibangun. Kemudian kita bisa menghitungnya seperti ini: Untuk ukuran tulangan besi pondasi cakar ayam 80 cm x 80 cm dengan besi ulir harganya rp 300.000 ( bulan juli 2011).
Source: iderumahidaman.com
Lb1 x l x 2 t x 2 x. Salah satu aspek yang penting saat membangun rumah adalah perhitungan bahan bangunan. Terdapat beberapa tipe pondasi yang umum digunakan untuk membuat konstruksi bangunan, di antaranya yaitu pondasi batu kali, pondasi cakar ayam dan tapak. Volume pondasi per meter = (0,25+0,5)/2×0,6×1 = 0,225 m3. Tulangan besi pondasi cakar ayam biasanya berbentuk tapak dan tiang setinggi 1,5 meter.
Source: idekreasirumah.com
Jadi satu buah pondasi footplat ukuran 100×100 cm membutuhkan besi kisaran 21,5 meter. Perhitungan volume dan rab pondasi telapakinilah 5 cara menghitung volume beton pondasi cakar ayamrab pondasi cakar ayam xlsbelajar teknik sipil, jasa perencanaan konstruksi bangunan: Rumah dua lantai membutuhkan konstruksi cakar ayam agar rumah lebih kuat. Salah satu aspek yang penting saat membangun rumah adalah perhitungan bahan bangunan. Semegah dan seindah apapun rumah dibangun jika tidak disokong oleh pondasi yang kokoh belum tentu dapat bertahan dalam hitungan.
This site is an open community for users to submit their favorite wallpapers on the internet, all images or pictures in this website are for personal wallpaper use only, it is stricly prohibited to use this wallpaper for commercial purposes, if you are the author and find this image is shared without your permission, please kindly raise a DMCA report to Us.
If you find this site adventageous, please support us by sharing this posts to your own social media accounts like Facebook, Instagram and so on or you can also save this blog page with the title contoh rab pondasi cakar ayam by using Ctrl + D for devices a laptop with a Windows operating system or Command + D for laptops with an Apple operating system. If you use a smartphone, you can also use the drawer menu of the browser you are using. Whether it’s a Windows, Mac, iOS or Android operating system, you will still be able to bookmark this website.



